Take a look at the first set of October 2022 BECE Integrated Science Practical Questions from GEN Home Mock. These questions are to test your readiness in science.
To get the full mock with the marking scheme go to BECE Mock Questions & Marking Scheme (Science) or continue reading this.
Note that our questions and marking schemes are not in any way leaked questions but standard BECE questions from expert examiners and teachers for candidates preparing for the BECE.
Get Home Economics full set of questions and answers for Sections A and B here [Full Home Economics Questions and Answers]
Get Section A and B Final Mock papers and Answers here [Full Maths Questions and Answers]
Get other subjects: Likely 2022 ICT BECE Questions for Candidates – Download
Get other subjects: Likely 2022 RME BECE Questions for (September Mock) for Candidates
Get Other Subjects: Over 2000 BECE Mock Questions, Likely Exam Questions And Answers (ALL SUBJECTS)
Get Other Subjects: Likely 2022 Pre Tech Skills BECE Questions for (Sept. Mock) for Candidates
Get other subjects: Likely 2022 RME BECE Questions for (September Mock) for Candidates
GHANA EDUCATION NEWS (GEN MOCK)
Enhancing student performance through quality assessment
GHANA EDUCATION NEWS MOCK – 2022 EDITION
THIS MOCK IS TESTING THE SPEED AND ACCURACY OF ANSWERS.
Get The Full Integrated Science questions and answers for Sections A and B here [Full Questions and Answers] or keep reading and Answer the free portions shared
- A. The table below gives the steps that were followed in an experiment to show that
light is necessary for photosynthesis.
Stages to show that light is necessary for photosynthesis
i. Fresh green leaf which remains attached to the parent plant is selected
ii. Both surfaces of the leaf are covered with strips of black. The tip and base of the leaf
remain exposed to sunlight.
iii. The experiment is set up early in the morning before sun rises.
iv. Later, in the afternoon, the leaf is plucked off the plant.
v. The strips of the black paper are removed and the leaf is immediately tested for
starch.
i. Why should the fresh green leaf be still attached to the parent plant while conducting the experiment?
ii. What was the role of the strips of black paper in the experiment?
iii. Why was the experiment set up in the morning before sunrise?
iv. What was the role of the uncovered part of the leaf?
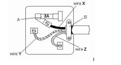
B. Study the diagram below carefully and answer the questions that follow.

i. Identify the parts labelled A, B, wire X, wire Y and wire Z.
ii. State the colour of each of the labelled wires in modern electrical appliances.
iii. State the function of the part labelled A
iv. What is the function of the diagram above?
Take a look at the first set of October 2022 BECE Integrated Science Practical Questions from GEN Home Mock.
C. A student performed tests on three food substances A, B and C. The table below represents the test and observations made by the student. Study it carefully and answer the questions that follow.
Food substance Test Observation
A Few drops of Fehling’s solution was added to A and the mixture boiled Colour of mixture changed from blue to brick-red
B Few drops of freshly prepared iodine solution was added to B The iodine solution changed to blue-black
C Millon’s reagent was added to C and the mixture heated White precipitate was formed which turns red on heating
i. Identify the food substances A, B and C
ii. Name one source each of the food substances A, B and C
iii. State the importance of each of the food substances to the body.
iv. What happens to a person who lacks food substance C in diet?
READ: Special August 2022 BECE Core Subjects Mock Questions & Answers (Download Now)
To get the full mock with the marking scheme go to BECE Mock Questions & Marking Scheme (Science)
October 2022 BECE Integrated Science Practical Questions
D. Given below are diagrams showing different stages in the process of fertilization of an egg in the female reproductive tract. Study the diagrams and answer the questions that follow.
October 2022 BECE Integrated Science Practical Questions – Solve the Next Question.

i. Arrange the letters given below each diagram in a logical sequence to show the correct order in the process of fertilization.
ii. Where in the female reproductive does the process normally take place?
iii. What is the biological term for the product of fusion?
iv. State an observation made in each stage of the logical sequence of the process.
Get this Home Economics full set of questions and answers for Sections A and B here [Full Home Economics Questions and Answers]
Get Section A and B Final Mock papers and Answers here [Full Maths Questions and Answers]
Get other subjects: Likely 2022 ICT BECE Questions for Candidates – Download
Get other subjects: Likely 2022 RME BECE Questions for (September Mock) for Candidates
Get Other Subjects: Over 2000 BECE Mock Questions, Likely Exam Questions And Answers (ALL SUBJECTS)
Get Other Subjects: Likely 2022 Pre Tech Skills BECE Questions for (Sept. Mock) for Candidates
Get other subjects: Likely 2022 RME BECE Questions for (September Mock) for Candidates
[wp-rss-aggregator]

The Ghana Education News Editorial Team is a specialized collective of education researchers, journalists, and policy analysts dedicated to providing high-fidelity reporting on the Ghanaian academic landscape. Serving as a primary bridge between governing bodies—including the Ghana Education Service (GES) and WAEC—and the public, the team leverages over a decade of combined experience to serve students, parents, and educators nationwide.
Lead Architect & Editor-in-Chief
The team is led by Wisdom Kojo Eli Hammond, a distinguished Ghanaian Edu-Tech Entrepreneur, AI Solutions Developer, and Product Architect with over 25 years of cross-disciplinary experience in education, finance, and digital media. Wisdom is the visionary force behind SkulManager, Ghana’s premier school management ecosystem, and the Lead Consultant at Education-News Consult.
A self-taught innovator, professional Web Designer, and regular columnist on GhanaWeb, Wisdom engineered SkulManager.com as the only platform strictly tailored to the GES Curriculum. His technical leadership has redefined educational assessment through a Hybrid Marking Ecosystem, pioneering the BECE and WASSCE Home Mock services—a unique fusion of WAEC-trained human examiners and advanced AI marking engines operational since 2022.
Wisdom’s 360-degree view of institutional challenges is grounded in his tenure as College President and Lecturer at Pinnacle College (Achimota), as well as his background as a school administrator and accountant. He is a dedicated lifelong learner currently advancing his studies at the Accra Institute of Technology (AIT), with academic ties to the University of Professional Studies, Accra (UPSA).
An accomplished author, his works include Returnees of the Dead Forest (UK Published), Simplified Beacon of Light (850+ Q&A), and The Leader in Me. A foundational pillar of the award-winning NGO Human Rights Reporters Ghana (HRRG), Wisdom is committed to building intelligent systems that solve societal problems and prepare the next generation of Ghanaian students for a digital future.
Contact: 0550360658 | Portals: GhanaEducation.org, GhanaEducationNews.org, SkulManager.com, BECEPrep.com. Educationnewsconsult.com etc